Zum Inhalt
NEU: Events vieler Veranstalter direkt auf R4F buchen. Bequem und einfach. Jetzt buchen

Slicks gegen Laufrichtung?

Fahrwerk, Tuning, Reifen, Tips&Tricks,...

Moderatoren: as, Chris

  • Benutzeravatar
  • Tead Offline
  • Beiträge: 4046
  • Registriert: Freitag 29. Juni 2007, 13:11
  • Motorrad: Husqvarna FS 450
  • Lieblingsstrecke: Pau Arnos
  • Kontaktdaten:

Kontaktdaten:

Beitrag von Tead »

Das darf man nicht, nur vorn Rad drehn und hinten normal, das geht nicht 8)


-----

2 Blondinen sind mit dem Fahrrad unterwegs. Auf einmal steigt die eine von ihrem Rad ab und fängt an, die Luft aus ihren Reifen rauszulassen. Die andere frägt sie: "was machste denn da?" Antwortet die erste: "na, mein Sattel ist mir zu hoch!" Die 2 springt dann ihrerseits auch sofort vom Rad runter und fängt an Sattel und Lenker abzuschrauben und den Sattel anstelle des Lenkers und den Lenker anstelle des Sattels wieder festzuschrauben. Da frägt die erste: "Was machst DU denn jetzt?"
Sagt die andere: "Du, ich fahr zurück - du bist mir einfach zu blöd!"
  • Benutzeravatar
  • GSXR Junkie Offline
  • Beiträge: 3031
  • Registriert: Montag 12. April 2004, 15:31
  • Wohnort: BW

Kontaktdaten:

Beitrag von GSXR Junkie »

URBRU444 hat geschrieben:Hat schon mal einer vorne das komplette Rad gedreht? :roll: :roll:
ja
  • Benutzeravatar
  • chris87 Offline
  • Beiträge: 605
  • Registriert: Dienstag 24. Februar 2009, 09:18
  • Motorrad: -
  • Lieblingsstrecke: Sachsenring
  • Wohnort: Waldshut-Tiengen

Kontaktdaten:

Beitrag von chris87 »

So nur rein zur Info, in AdR Hinterreifen D211GP Mischung 6680 erfolgreich gegen die Laufrichtung montiert und gefahren...hat gut funktioniert, denke vorwärts hätte der Reifen auch net anders ausgesehen :lol: :lol: :lol:
  • DukeRR Offline
  • Beiträge: 53
  • Registriert: Mittwoch 31. August 2016, 09:50
  • Motorrad: Yamaha YART R1 RN65
  • Lieblingsstrecke: Oschersleben
  • Wohnort: Oberhausen
  • Kontaktdaten:

Re: Slicks gegen Laufrichtung?

Kontaktdaten:

Beitrag von DukeRR »

Hallo zusammen,

muss das Thema nochmal rauskramen.

Hab ein V02 Med. hinten und wollte den drehen weil er rechts weniger drauf hat als links und ich in der nächsten Zeit nach Assen und wahrscheinlich auch noch nach Zolder fahren werde. Da beide rechtslastig sind würde ich den Hinterreifen gerne drehen.

Hab jetzt schon bei einigen gelesen das das kein Problem sein sollte andere wiederum raten davon ab.
Wie ist eure Meinung beim V02?

Lieben Gruß

Duke
Rennstrecken-Termine 2023

12 Mai NBR
4-5 Juni HHR
17-18 Juni OSL
3-4 Juli Most
19 Juli NBR
11-12 August HHR
11-12 September NBR


Instagram: duke_69
  • Benutzeravatar
  • R.I.P. steirair Offline
  • Beiträge: 6617
  • Registriert: Freitag 29. April 2005, 05:55
  • Motorrad: BMW S1000RR
  • Lieblingsstrecke: Pannonia
  • Wohnort: Gössendorf bei Graz
  • Kontaktdaten:

Re: Slicks gegen Laufrichtung?

Kontaktdaten:

Beitrag von R.I.P. steirair »

Ganz normal drehen, kein Problem.
Lackieren, Design, Folierungen, Textildruck: http://www.kogler.at.
https://www.facebook.com/werbetechnik.kogler/
  • Benutzeravatar
  • Rudi Offline
  • Beiträge: 8750
  • Registriert: Montag 19. Januar 2004, 11:29
  • Motorrad: R1 RN22
  • Lieblingsstrecke: Rijeka, Zandvoort
  • Wohnort: Guetersloh
  • Kontaktdaten:

Re:

Kontaktdaten:

Beitrag von Rudi »

GSXR Junkie hat geschrieben:
URBRU444 hat geschrieben:Hat schon mal einer vorne das komplette Rad gedreht? :roll: :roll:
ja
Also bei Hafeneger weigert sich der Reifendienst, den vorderen zu drehen, hinten macht er ohne Probleme.

Muss ja einen Grund haben ?!
Termine 2026
30.3-2.4 Rijeka mit Dreier
15.-17.5. Pann mit Stardesign
3.-5.8. Brünn mit Bimota
11.-13.9. Most mit CRMoto
28.9.-1.10. Rijeka mit Dreier
  • Benutzeravatar
  • robs97 Offline
  • Beiträge: 2691
  • Registriert: Dienstag 29. April 2008, 14:05
  • Wohnort: Schliersee

Re: Slicks gegen Laufrichtung?

Kontaktdaten:

Beitrag von robs97 »

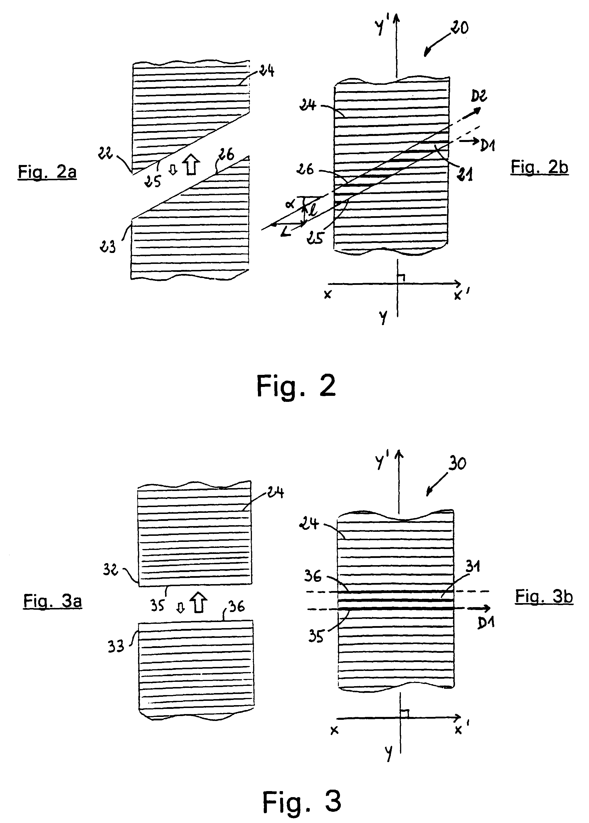
Es geht eigentlich nur um die Überlappung der Lauffläche, da diese keilförmig und nicht stumpf verschweißt ist. Jetzt könnte es theoretisch passieren, das man immer diese Stelle des Keils beim bremsen trifft und sich dieser öffnet. Deswegen die Laufrichtungsanzeige wahrscheinlich auch wegen Haftungsgründen des Herstellers.
00220001.png
Bei der Moto GP wäre es wahrscheinlich fatal mit den verschiedenen Mischungen beider Seiten :lol: :lol:
aber die zahlen ja nix für den Gummi :mrgreen:

PS: Beim Hinterreifen ist diese Keil genau gegensätzlich montiert wie der Vorderreifen, da dieser Beschleunigungskräfte aufnimmt und die Bremserei eher vernachlässigt werden kann. So soll die Belastung immer von der Breiten Fläche auf die Spitze erfolgen.
Zuletzt geändert von robs97 am Dienstag 25. Juli 2017, 11:57, insgesamt 2-mal geändert.
  • Benutzeravatar
  • robs97 Offline
  • Beiträge: 2691
  • Registriert: Dienstag 29. April 2008, 14:05
  • Wohnort: Schliersee

Re: Re:

Kontaktdaten:

Beitrag von robs97 »

Rudi hat geschrieben:
GSXR Junkie hat geschrieben:
URBRU444 hat geschrieben:Hat schon mal einer vorne das komplette Rad gedreht? :roll: :roll:
ja
Also bei Hafeneger weigert sich der Reifendienst, den vorderen zu drehen, hinten macht er ohne Probleme.

Muss ja einen Grund haben ?!
Als Reifendienst würde ich es genau so handhaben bzw. haben wir das immer so gehandhabt. Stell Dir vor es passiert ein Unfall wegen eines Reifendefektes evtl. mit Todesfolge, was nicht mal an dem verkehrt herum aufgezogenem Reifen liegen muss. Den Staatsanwalt wird es nicht interessieren ob das funktioniert sondern DU ( als Reifendienst ) hast den Reifen falsch montiert und bist somit der Schuldige.
Privat darft Du Dich umbringen wie Du möchtest, ohne Folgen für Dich :lol:
  • Benutzeravatar
  • Sordo Offline
  • Beiträge: 1593
  • Registriert: Samstag 19. September 2015, 00:00
  • Motorrad: Daytona 765 Moto2
  • Lieblingsstrecke: Assen

Re: Re:

Kontaktdaten:

Beitrag von Sordo »

Rudi hat geschrieben:
GSXR Junkie hat geschrieben:
URBRU444 hat geschrieben:Hat schon mal einer vorne das komplette Rad gedreht? :roll: :roll:
ja
Also bei Hafeneger weigert sich der Reifendienst, den vorderen zu drehen, hinten macht er ohne Probleme.

Muss ja einen Grund haben ?!
So wurde es mir dort auch mitgeteilt.
Jerez 27.12. - 31.12.22 Valentinos
Portimao 03.01. - 05.01.23 Valentinos
Assen 03.05. - 05.05. Valentinos
Assen 14.07. - 15.07. Dannhoff
OSL 17.05. - 18.07. HPS
Assen 19.09. - 20.09. HPS
  • Benutzeravatar
  • robs97 Offline
  • Beiträge: 2691
  • Registriert: Dienstag 29. April 2008, 14:05
  • Wohnort: Schliersee

Re: Re:

Kontaktdaten:

Beitrag von robs97 »

Sordo hat geschrieben:
Rudi hat geschrieben:
GSXR Junkie hat geschrieben:
URBRU444 hat geschrieben:Hat schon mal einer vorne das komplette Rad gedreht? :roll: :roll:
ja
Also bei Hafeneger weigert sich der Reifendienst, den vorderen zu drehen, hinten macht er ohne Probleme.

Muss ja einen Grund haben ?!
So wurde es mir dort auch mitgeteilt.
Wird jeder Reifendienst so handhaben. Wenn dich der Reifenfuzzi pers. kennt mit dem Wissen, das bei einem Sturz von Dir keine Klagewelle zu erwarten ist, dann dreht der Dir den auch .
Früher wars halt mal: Ein Mann ein Wort, heute ist im Prinzip immer ein anderer der Schuldige und da könnte mich jeder betteln wie er möchte, der Reifen wird nicht gedreht. :wink:
Heute wird ja schon im Internet nach einem Sturz nach Schuldigen gesucht. Früher war es so, ist RS also was normales wenns mal geknallt hat. Da wurde nicht nachtarockt.
Antworten